海灣技術資料
聯系我們
- 聯系人:郭經理
- 傳真:010-69552656
- 電話:400-0346-119
- 電話:010-57113119
- 郵箱:506665119@qq.com
- 地址:北京通州區新華北路117號
海灣GST-TS-100A消防電話分機
時間:2018-10-24 11:18:01 品牌: 海灣
![[!--oldtitle--]](/d/file/baojingshebei/2018-10-24/17e6c6790a0b3af9f06eb729c83ff494.gif)
GST-TS-100A總線制固定式消防電話分機是為消防專用而設計開發的總線制通訊設備,通過它可迅速實現對火災的人工確認,并可及時掌握火災現場情況及進行其它必要的通信聯絡,便于指揮滅火及恢復工作。
二、GST-TS-100A特點GST-TS-100A型消防電話分機是消防專用總線制通訊設備,GST-TS-100A型消防電話分機為固定式安裝,摘機即呼叫電話主機。
三、GST-TS-100A技術特性工作電壓 :DC24V,
允許范圍:DC20V~DC28V 工作電流 通話時電流約為25mA 線制 無極性二總線制 使用環境
溫度:-10℃~+50℃
相對濕度:≤95%,不凝露
外形尺寸:206mm×56mm×51.5mm執行標準:Q/GST28-2005
四、GST-TS-100A消防電話分機結構特征與安裝
GST-TS-100A 型消防電話分機、GST-TS-100B 型消防電話分機外形尺寸及結構示意圖分別如圖。

GST-TS-100A型消防電話分機外形結構圖

GST-TS-100B 型消防電話分機外形尺寸及結構示意圖
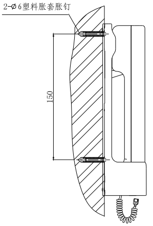
GST-TS-100A 型消防電話分機安裝示意圖如圖所示:

GST-TS-100A 型消防電話分機安裝示意圖
在安裝處打出間距為150mm的兩個φ6的孔,穿入φ6的脹套,用φ6的脹釘固定好后,將GST-TS-100A消防電話分機底座直接掛在脹釘上。將電話線插頭插入GST-LD-8304型消防電話接口的電話插孔內。
GST-TS-100B型消防電話分機的電話線插頭,直接接入GST-LD-8312型消防電話插孔的插孔內即可使用。








